中国第一重型机械集团公司原董事长,刘明忠,个人履历
2025-11-10 09:21:42
黄晓明杨颖官宣离婚!七年爱情童话破灭,股权豪宅分割成焦点
1月28日中午,黄晓明与杨颖(AngelaBaby)通过微博宣布离婚,七年婚姻就此终结。


黄晓明、杨颖官宣离婚
黄晓明与baby两人的工作室也发布声明称他们决定和平分开,已于日前办妥相关手续,未来将共同抚养孩子。

两人工作室发布声明
作为当红明星,黄晓明与baby的恋情一直备受外界关注。
据悉,两人在台湾相识,2009年baby通过黄晓明的牵线搭桥,顺利参演华谊公司出品的电影《全城热恋》。依靠着内地荧屏处女作一炮而红,baby也成功拿下了进军内地演艺圈的通行证。
多次商务合作的接触下来,两个人暗生情愫。

《全城热恋》剧中杨颖饰演“小琪”
2015年,两人的爱情长跑终于修成正果。
2015年5月27日,黄晓明与baby在青岛领证登记,日期是“我爱妻”的谐音,体现出两人的爱意满满。

黄晓明宣布结婚
同年10月8日,两人在上海展览中心举办浪漫盛大的“ah婚礼”。婚礼邀请来内地娱乐圈“半壁江山”,到场嘉宾从影视明星到商界大佬足有五百多位,无数记者架起长枪短炮直击婚礼现场。强大的嘉宾阵容甚至造成了上海展览中心附近的交通严重堵塞。

伴郎伴娘团“众星云集”
该场梦幻婚礼耗资两亿元人民币,婚戒、婚纱璀璨夺目,婚礼布置极尽奢华。单从婚礼花艺来说,为了营造出梦幻伊甸园的风格,就高价聘请了法国花艺大师进行布置。



婚礼现场照片
2025年1月17日清晨,baby生下儿子“小海绵”,baby会在微博不定时分享一家三口的幸福瞬间。


离婚官宣后引发了网络上的热议。虽然网上早有两人婚变的传闻,各种小道消息也是络绎不绝,却没有想到官宣来得如此突然。
有网友猜测:两人是在谈妥离婚协议、财产分割后才正式官宣,避免出现明星互撕的狗血大战。
分析一:亿万豪宅归属于谁?
据媒体报道,黄晓明、baby婚后四处置业,在上海、北京、青岛、香港等地都拥有豪宅。
baby曾经晒出在自家豪宅中看电视的场景,屋内巨型猫屋让人感慨“壕无人性”。电视背后有一面落地玻璃窗,被眼尖的网友发现窗外是东方明珠电视塔,可见所处地段之优越,这套豪宅显然价值不菲。

杨颖晒出的豪宅客厅
根据《民法典》第一千零六十二条,夫妻共同财产是指夫妻在婚姻关系存续期间的工资、生产投资收益、继承或受赠等财产,夫妻的共同财产归夫妻共同所有。
一般而言,属于夫妻共同所有的房屋主要有以下几种情形:
1、婚姻期间夫妻双方共同购买的公房、商品房、经济适用房、私有房屋;
2、夫妻一方在婚前承租、婚后用夫妻共同财产购买的房屋;
3、婚前以男女双方的积蓄共同购买的公房、商品房、经济适用房等房屋;
4、由一方在婚前购买或自建,婚后又以共同财产组织重建的的房屋;仅有部分改建、扩建的,改扩建部分属夫妻共同所有;
5、结婚前,父母出资购置的房屋,明确表示赠与夫妻双方的;
6、结婚后,父母出资为双方购置的房屋,未明确表示赠与夫或妻一方的;
7、一方或双方在婚姻关系期间继承的房屋归夫妻共同所有,但遗嘱中确定只归夫或妻一方的除外;
8、工作单位基于职工的劳动人事关系、职工工龄等福利分房形式分配的,并由夫妻双方出资购买的职工福利房等。
属于夫妻共有的房产,在离婚时应平均分割。
分析二:公司股权如何分割?
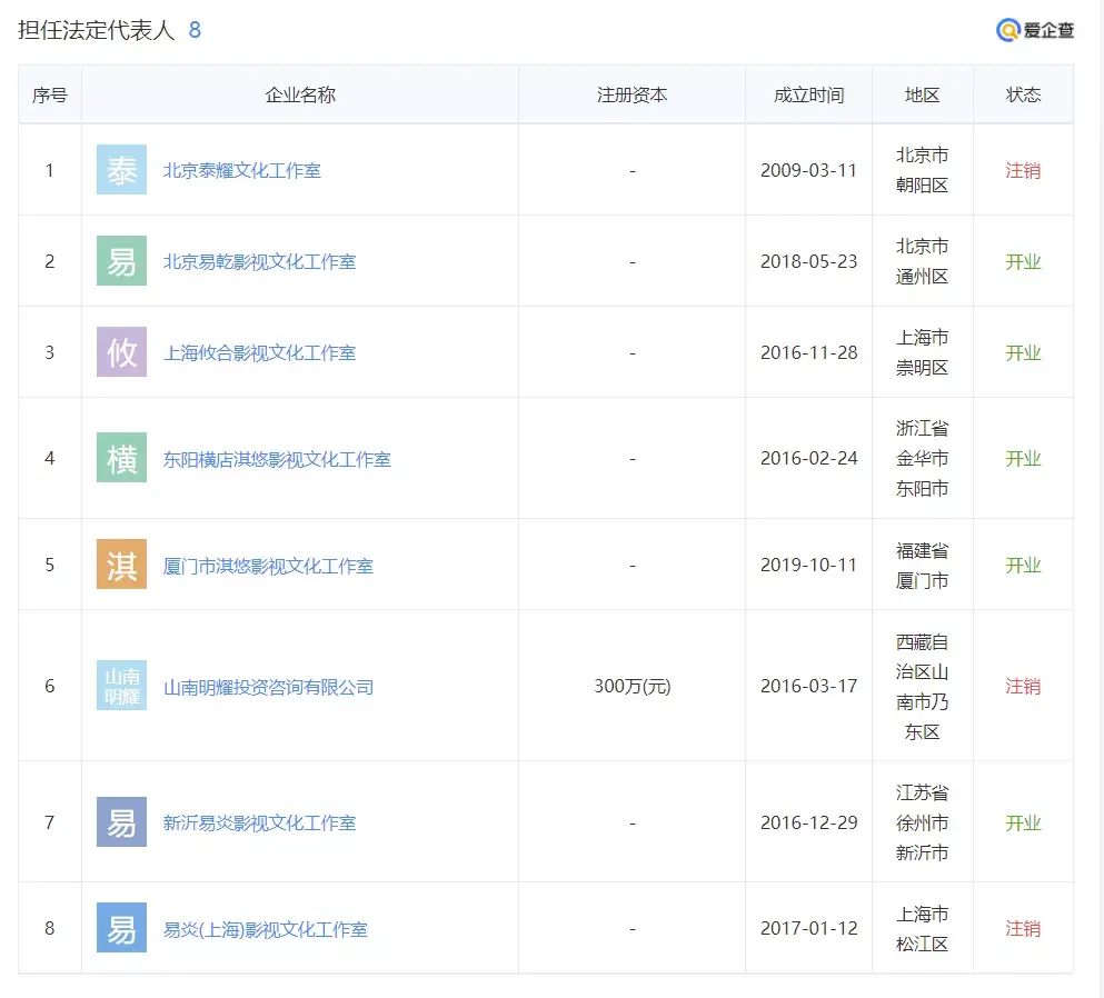
爱企查公开资料显示,黄晓明是北京易乾、上海攸合等共计8家公司的法定代表人,持有韩都衣舍、乐视影业、广东广影、博纳影视等共计41家公司的股份。


黄晓明担任多家企业法定代表人
当股权作为夫妻共同财产,其在分割时还需要依据公司性质采取不同的划分办法:
1、对股份公司的股票以直接平均分割为基本原则
股份公司的股份转让与有限公司不同,股份公司的资合性较强,不存在内部股东的优先购买权,作为夫妻共同财产的股票,如果双方没有另行协商一致,一般以平均分配为原则。
2、对有限责任公司的夫妻共同股权的处理办法
有限公司兼具有人合性与资合性的特征,处理夫妻共同股权既要尊重内部股东的优先购买权,又要考虑到股东人数少、规模小的特点。
在分割时还应考虑业务、技术等实际经营情况,让不懂经营的丈夫或妻子股东直接获得一半股权可能会破坏公司的经营稳定和长期发展。
因此需要视实际情况不同,而采取不同形式的共同股权分割办法。
分析三:小海绵的“共同抚养”问题
2025年1月17日baby生下儿子,小名为“小海绵”,现在已有5岁。
在黄晓明工作室的《声明》中指出,未来将共同抚养孩子,陪伴孩子成长。
由此可见,双方在处理小海绵的抚养权问题上,采取了“共同抚养”的方式。

黄晓明工作室《声明》
在实践中,对抚养权的处理方法有以下三种:
1、子女由父或母方抚养,不抚养的一方支付其抚养费。
《民法典》有明文规定,离婚后,子女由一方直接抚养的,另一方应当负担部分或者全部抚养费。负担费用的多少和期限的长短,由双方协议;协议不成的,由人民法院判决。
2、由父母双方协商轮流抚养子女。
3、由父母协商一致共同抚养子女。
共同抚养是指夫妻双方都有对孩子有监护、抚养和教育等法定义务。父母对孩子的抚养义务,不因婚姻关系的变化而变化。
双方对子女均享有抚养权,有义务支付子女的抚养费、教育费等生活费用。虽然在法律中没有明文写明关于共同享有抚养权的条例,但此种方法在实践中被广泛采纳。
“离婚不离家”,让小海绵在成长的过程中同时感受到父母双方的陪伴,黄晓明、baby作为父母对小海绵的关爱与呵护可见一斑。
对于刚过5岁生日的小海绵来说,这也是一份弥足珍贵的生日礼物。
2025-11-10 09:21:42
2025-11-10 09:19:27
2025-11-10 09:17:12
2025-11-10 09:14:58
2025-11-10 09:12:42
2025-11-10 09:10:27
2025-11-10 09:08:12
2025-11-10 09:05:58
2025-11-10 09:03:42
2025-11-10 09:01:27
2025-11-10 08:59:12
2025-11-10 08:56:57
2025-11-10 01:54:21
2025-11-10 01:52:06
2025-11-10 01:49:51
2025-11-10 01:47:36
2025-11-10 01:45:21
2025-11-10 01:43:06
2025-11-10 01:40:51
2025-11-10 01:38:36