皮泡网 > 八卦 > 正文

​于谦持股公司被执行8.5万 与众多明星共同持股

时间:2023-11-14 02:01

来源:皮泡网

点击:

于谦持股公司被执行8.5万 与众多明星共同持股

于谦持股公司被执行8.5万 与众多明星共同持股

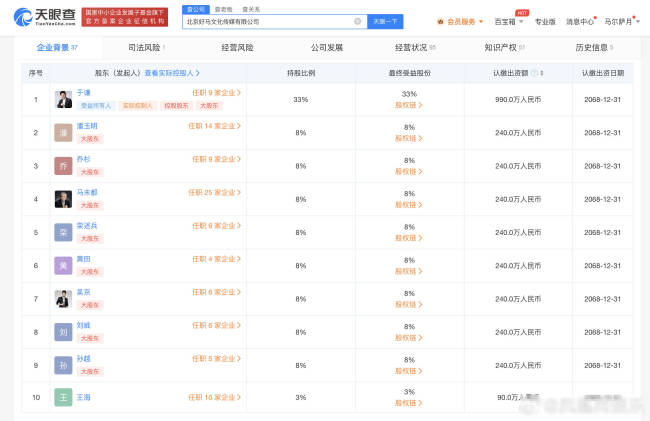
据天眼查App显示,近日,北京好马文化传媒有限公司新增一则被执行人信息,执行标的8.5万余元,执行法院为北京市朝阳区人民法院。该公司成立于2019年6月,注册资本3000万人民币,法定代表人为于谦徒弟冯阔洋,经营范围包括组织文化艺术交流活动、摄影服务、体育场馆管理、餐饮服务、文艺表演和零售出版物等。股东信息显示,该公司由于谦、吴京、马未都、乔杉、孙越等共同持股,其中于谦持股33%,为第一大股东。

于谦持股公司被执行8.5万 与众多明星共同持股

相关标签:

相关推荐

​章若楠一袭古风白衣头戴幕帘 气质清雅温婉

​章若楠一袭古风白衣头戴幕帘 气质清雅温婉

章若楠一袭古风白衣头戴幕帘 气质清雅温婉 章若楠公开一组古装写真,照片里的她一袭古风白衣,头戴幕帘,清雅温婉。笑容甜美,显现灵动少女感,宛若古画里走出来的少女。...

2023-11-14 01:59:09

​再谈亚运会抢跑事件 吴艳妮:真抢跑了又怎么了?

​再谈亚运会抢跑事件 吴艳妮:真抢跑了又怎么了?

再谈亚运会抢跑事件 吴艳妮:真抢跑了又怎么了? 吴艳妮是一位来自中国的女子短跑运动员,她曾在2015年北京世界田径锦标赛上获得女子4x100米接力银牌。然而,在比赛过程中,有观...

2023-11-14 01:56:54

​张小斐穿吊带裙好美 化身暗夜女王熠熠生辉

​张小斐穿吊带裙好美 化身暗夜女王熠熠生辉

张小斐穿吊带裙好美 化身暗夜女王熠熠生辉 11 月 11 日,张小斐在社交平台上晒出一组写真美照,她身穿黑色吊带长裙,化身暗夜女王,熠熠生辉!...

2023-11-13 15:02:34

​贾斯汀 - 比伯街头喝咖啡 享受悠闲生活

​贾斯汀 - 比伯街头喝咖啡 享受悠闲生活

贾斯汀 - 比伯街头喝咖啡 享受悠闲生活 当地时间 2023 年 11 月 11 日,美国洛杉矶,贾斯汀 - 比伯(Justin Bieber)街头喝咖啡。 照片中,贾斯汀 - 比伯身穿黑色卫衣带棒球帽,出行简单低...

2023-11-13 15:00:20

​鞠婧祎穿白毛衣清纯可人 双手捧脸卖萌

​鞠婧祎穿白毛衣清纯可人 双手捧脸卖萌

鞠婧祎穿白毛衣清纯可人 双手捧脸卖萌 鞠婧祎的一组美照曝光,她身穿白色毛衣披散长发清纯可人,在镜头前双手捧脸卖萌俏皮可爱。...

2023-11-13 14:58:05

​景甜穿白色大衣温柔优雅 回眸一笑太撩人

​景甜穿白色大衣温柔优雅 回眸一笑太撩人

景甜穿白色大衣温柔优雅 回眸一笑太撩人 景甜的一组美照曝光,她身穿白色毛衣搭配咖色长裙,裹白色大衣温柔优雅,回眸一笑治愈力满满。...

2023-11-13 14:55:51

​迈克杰克逊怎么过世

​迈克杰克逊怎么过世

迈克杰克逊怎么过世 迈克尔杰克逊是因为药物中毒引发心脏病去世的,他去世之前患有严重失眠,需要借助药物来进行助眠。 迈克尔杰克逊是在2009年6月25日去世的,他去世的消息震惊...

2023-11-12 18:12:21

​吴磊毕业于哪个高中

​吴磊毕业于哪个高中

吴磊毕业于哪个高中 吴磊毕业于北京现代音乐学院,单纯的教育部备案的民办学校。原本以为他中考之后应该会去一个不错的学校读高中,然后为之后的大学铺路。但是出乎所有人意料...

2023-11-12 18:10:06

​江海迦为什么不火

​江海迦为什么不火

江海迦为什么不火 ?江海迦不火应该是因为她缺少营销包装,她也很少参加综艺节目,没给大家认识她的机会。 江海迦走的创作型歌手的路线,她很有创作才华。连香港媒体都称呼她为...

2023-11-12 18:07:52

​知名女星晒照引热议!脸上密密麻麻…

​知名女星晒照引热议!脸上密密麻麻…

知名女星晒照引热议!脸上密密麻麻… 近日,演员张馨予晒出做针灸的自拍照,引发网友关心和热议,照片中,张馨予的脸上被扎了密密麻麻的针,细数足有几十根。 对此,张馨予回...

2023-11-12 18:05:37

​没有一个男的能拒绝她!人间富贵花落入凡尘,更美了

​没有一个男的能拒绝她!人间富贵花落入凡尘,更美了

没有一个男的能拒绝她!人间富贵花落入凡尘,更美了 最近看乐游园了吗?还挺好看的! 该说不说,大甜甜近两年可能是因为人生阅历多了,演技的层次多了很多,整个人感觉很不错...

2023-11-12 18:03:23

​知名男星涉毒被查!试图毁灭证据?

​知名男星涉毒被查!试图毁灭证据?

知名男星涉毒被查!试图毁灭证据? 涉嫌吸毒的韩国歌手权志龙(G-DRAGON),日前在除头发外全身脱毛的情况下接受毒品检测,结果为阴性,但警方怀疑其试图毁灭证据。 据悉,涉嫌违...

2023-11-12 18:01:08

​美女!才女!主持人大赛中的她,太讨喜了!

​美女!才女!主持人大赛中的她,太讨喜了!

美女!才女!主持人大赛中的她,太讨喜了! 戈慧文 微博:YOYO 是酱不是这样 1996 年 8 月出生 济南广播电视台主持人 2019《我是新主播》10 强 这个周末,让我们将目光投向主持人人大...

2023-11-12 17:58:54

​为什么张艺谋再也没有和章子怡合作过了?只因她的野心太大了

​为什么张艺谋再也没有和章子怡合作过了?只因她的野心太大了

为什么张艺谋再也没有和章子怡合作过了?只因她的野心太大了 曾经的章子怡和张艺谋,合作可谓是亲密无间,两人合作过电影《英雄》,后来,又在电影《十面埋伏》里面搭档过一次...

2023-11-12 17:56:39

​张雨绮哭诉当明星好难,羡慕普通人的自由,曾说 699 块买不了袜子

​张雨绮哭诉当明星好难,羡慕普通人的自由,曾说 699 块买不了袜子

张雨绮哭诉当明星好难,羡慕普通人的自由,曾说 699 块买不了袜子 张雨绮又上热搜了,她参加某综艺节目的过程中,称很羡慕普通人的生活,哭诉做明星好难。张雨绮非常难过和苦恼...

2023-11-12 17:54:25

​贝克汉姆晒照头发超级稀疏,尽显消瘦和苍老,被疑植发失败

​贝克汉姆晒照头发超级稀疏,尽显消瘦和苍老,被疑植发失败

贝克汉姆晒照头发超级稀疏,尽显消瘦和苍老,被疑植发失败 11 月 10 日,贝克汉姆在社交账号中分享了一张抱着一只小山羊的照片并配文: 在乡下发现了一个小朋友,哈珀小七不在,...

2023-11-12 17:52:10

​我的唐朝兄弟演员表(哪些演员出演了这部剧)

​我的唐朝兄弟演员表(哪些演员出演了这部剧)

我的唐朝兄弟演员表(哪些演员出演了这部剧) 大家好,为大家解答以上问题。我的唐朝兄弟演员表,哪些演员出演了这部剧很多人还不知道,现在让我们一起来看看吧! 1、一部古装...

2023-11-11 21:04:39

​梁静茹给的勇气怎么接怼下一句

​梁静茹给的勇气怎么接怼下一句

梁静茹给的勇气怎么接怼下一句 梁静茹因为离婚的事情登上了热搜,而和梁静茹有关的新闻也都被网友扒了出来,其中有一个和梁静茹有关的梗,很多网友应该都有用过。梁静茹给的勇...

2023-11-11 21:02:25

​明星大侦探邓伦杨幂魏大勋在哪一季

​明星大侦探邓伦杨幂魏大勋在哪一季

明星大侦探邓伦杨幂魏大勋在哪一季 ?是《我是大侦探》第七期《走不出的古宅·上》,而不是《明星大侦探》。《我是大侦探》只有一季,于2018年首播并于同年完结。而《明星大侦探...

2023-11-11 21:00:10

​欢瑞世纪旗下艺人排名及所有名单,杨紫已到期不再续约

​欢瑞世纪旗下艺人排名及所有名单,杨紫已到期不再续约

欢瑞世纪旗下艺人排名及所有名单,杨紫已到期不再续约 欢瑞世纪是一家非常著名的娱乐公司,出品过非常多的电视剧以及电影,也捧红过许多的艺人明星,杨紫、任嘉伦就是其中非常...

2023-11-11 20:57:56